Утепление полов и перекрытий в каркасных домах
В каркасных домах необходимо утеплить полы над вентилируемым подвалом, а также перекрытия над другими жилыми помещениями.
Выбор теплоизоляционного материала
Благодаря конструкции пола, можно воспользоваться достаточно дешевыми теплоизоляционными материалами: приобрести плиты и маты, выполненные из минеральной ваты, которая бывает каменной (базальтовой), стеклянной, шлаковой, керамической и т. д. Самая популярная вата — стеклянная и каменная. Каменная характеризуется высокой огнестойкостью. Если же пожар все-таки произойдет, минеральные волокна практически не будут дымить, вата под действием высокой температуры не растечется. Вследствие волокнистой структуры, вата характеризуется низкой теплопроводностью и хорошей звукоизоляцией. Также она обладает высокой паропроницаемостью: пар свободно проходит между волокнами материала, но не впитывается. Для того чтобы он смог выйти наружу, а не накапливался внутри плиты или мата, необходимо обеспечить вентиляцию. Теплоизоляция, выполненная из минеральной ваты, устойчива к появлению грибков и плесени, ее не разрушают насекомые.
Эффект теплоизоляции обычно на 95 % зависит не от вида выбранного материала, а от качества проведенных работ, включая тщательную укладку плит утеплителя. Ведь даже самые дорогие материалы не спасут в случае халатно выполненной работы.
Этапы работы
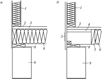
Первый этап заключается в подшивании к нижней части лаг брусков из дерева, после чего расстилают сетку из пластика или проволоки с шагом точек крепления 300 мм на каркасе перекрытия. Затем плотно вставляют теплоизоляционные маты в промежутки между лагами (рис. 61, а). Если монтаж утеплителя проводят, когда перекрытия уже выполнены, маты прикрепляют при помощи пластиковой или проволочной сетки либо пружинной проволоки путем установки прутков с шагом 400 мм (рис. 61, б). Маты, непосредственно выходящие в подвал, защищают сплошной обшивкой от нападения грызунов.
Место, где пол первого этажа примыкает у фундамента к каркасу наружной стены, изолируется по-разному, но сделать это нужно обязательно. Как правило, мат утеплителя занимает между лагами все пространство (рис. 62, а). Чтобы не образовывалась плесень и не появлялся запах гнили, подвал и теплоизоляционные маты необходимо периодически проветривать.
Над подвальными помещениями требуется организовать пароизоляцию в том случае, когда вследствие разницы температур в подвале и со стороны улицы возникает конденсат. Тогда на сторону матов, обращенную к помещению, укладывают пленку из полиэтилена. Ее кладут поверх основания для чистового пола или непосредственно на маты утеплителя. Чтобы пароизоляционный слой не прерывался, необходимо сварить пленку с пароизоляцией стены.

Рис. 61. Крепление теплоизоляции к каркасу пола: а) до монтажа перекрытий; б) снизу, после монтажа перекрытий; 1 — пол; 2 — лага; 3 — утеплитель; 4 — сетка; 5 — пружинная проволока
Тогда надо проследить, чтобы мат утеплителя не препятствовал притоку свежего воздуха; его нужно уложить, выполнив отступ от стены. Для этой цели между лагами прокладывают ограничительную распорку (рис. 62, б).

Рис. 62. Изоляция пола у фундамента: а) укладка необлицованного мата; б) установка ограничительной распорки; 1 — каркас стены; 2 — основание чистого пола; 3 — пароизоляция; 4 — плита жесткой теплоизоляции; 5 — жалюзи в обшивке для вентиляции подвала; 6 — теплоизолирующий мат; 7 — распорка между лагами; 8 — подкладной брус; 9 — фундамент
Более 800 000 книг и аудиокниг! 📚
Получи 2 месяца Литрес Подписки в подарок и наслаждайся неограниченным чтением
ПОЛУЧИТЬ ПОДАРОК