Инструменты для распиливания и рубки материалов
Пилы
Пилы используют для распиливания древесных материалов и металлов. Пила имеет металлическую ленту (диск) с зубьями. Промежуток между вершинами двух соседних зубьев называется шагом, а промежуток между вершиной зуба и основанием – высотой зуба. У зубьев пилы есть 2 боковые и 1 передняя режущие кромки.
У пилы, предназначенной для продольного распиливания пиломатериалов, зубья сделаны в форме треугольника и имеют прямую заточку, благодаря которой пилить можно только в одном направлении. Передняя режущая кромка такой пилы разрезает волокна, две боковые отделяют их друг от друга.
У пилы, предназначенной для поперечного распиливания, зубья в основном выполнены в виде равнобедренного треугольника и имеют двухстороннюю заточку. У этой пилы передняя заточка отделяет волокна, боковые же кромки разрезают их.
Выпускаются электрические, ручные и выкружные пилы. Первые используются как для поперечного, так и для продольного распиливания материалов, например брусков, досок. Кроме этого, ими можно выполнять некоторые виды плотничных работ, например пиление под определенным углом. Эти пилы удобны тем, что работа с ними не отнимает слишком много времени и сил. Широко применяются электропилы ЭП-5КМ, ЭП-К6, К-5М, ИЭ-5107.
Пилы ЭП-5КМ, ЭП-К6, К-5М необходимы при распиливании необтесанных бревен, кряжей, досок, брусьев. Режущей частью пил является пильная цепь, состоящая из зубьев, которые скреплены между собой шарнирами.
При работе с этими электропилами следует соблюдать правила техники безопасности:
– не работать с пилой во влажном помещении при напряжении выше 36 В;
– чтобы перенести пилу, помещать ее в чехол;
– по окончании работ пилу убирать в шкаф или в специально отведенное для нее место.
Пилой ИЭ-5107 благодаря ее частоте вращения (49 с-1) можно распиливать древесные материалы толщиной 65 мм. Ее также можно использовать как стационарный станок, если предварительно установить на верстаке.
Чтобы работу с пилой сделать максимально безопасной, проверяют, правильно ли заточены и разведены ее зубья, как посажен диск на шпиндель, нет ли на диске трещин и других повреждений. Состояние редуктора проверяют проворачиванием диска. Если диск проворачивается с затруднением, разжижают смазку, включая на 60 с холостой ход инструмента.
Затем, когда все неисправности будут устранены, правой рукой захватывают заднюю рукоятку, а левой – переднюю, и устанавливают режущую часть пилы на материале, предварительно закрепленном на верстаке. Пилу направляют строго по намеченной линии, плавно, без резких толчков, так как при резких и быстрых движениях диск инструмента может заклинить, что приведет к поломке электродвигателя.
В том случае, если диск все же заклинило и он остановился, электропилу слегка отводят назад, чтобы диск освободился и набрал необходимую частоту вращения, после чего продолжают распиливание. Если диск не набирает нужную частоту вращения, работу с пилой прекращают.
Закончив распиливание, инструмент отключают, обтирают ветошью, смоченной в керосине, и убирают на хранение.
Ручные пилы бывают ножовочные (ножовки), поперечные и лучковые.
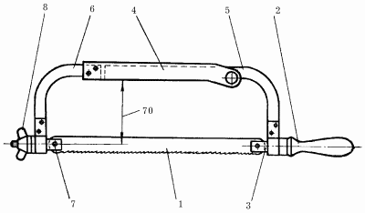
Ножовки предназначены для резки небольших прутков (рис. 1).

Рис. 1. Ножовка ручная: 1 – полотно ножовки; 2 – рукоятка; 3 – стержень; 4 – обойма; 5,6 – правая и левая полурамки; 7 – натяжной винт; 8 – барашек.
Обычная ручная ножовка имеет правую и левую полурамки, которые сращены обоймой. На стороне правой полурамки находится рукоятка. Полотно ножовки помещают в зазор натяжного винта и стержня, а затем фиксируют штифтом. После этого полотно инструмента натягивают барашком.
Полотна ножовки выпускаются длиной 320 и 370 мм. Ширина ножовки составляет 15 мм, а толщина не более 0,75 мм. Высота профиля зуба ножовки может быть 55–60 мм.
Выбор количества зубьев у полотна ножовки зависит от работы с тем или иным металлом. Так, например, полотна, имеющие 16 зубьев, пригодны только для работы с мягкими металлами, полотна с 19 зубьями предназначены для изделий из твердых металлов, а полотна с 22 зубьями используются при работе со сверхтвердыми металлами.
Чтобы разрезать пруток ножовкой, его помещают в тиски и зажимают таким образом, чтобы линия отреза находилась близко к губкам тисков. Если режут деталь большой ширины, ножовку устанавливают в горизонтальном положении, а если режут детали из угловой или полосовой стали, ножовку держат наклонно.
Для получения наилучшего результата за минуту выполняют 40–50 движений ножовкой. При движении инструмента вперед делают нажим, при движении назад нажим не делается.
От того, с каким металлом проводится работа, зависит сила нажима. Так, при резке мягких металлов сила нажима должна быть значительно меньше, чем при резке изделий из твердого металла.
В процессе работы с ручной ножовкой, для того чтобы полотно инструмента не треснуло и не поранило руки, стараются не делать резких движений с большим нажимом.
Кроме ручных ножовок, используют также и электрические. Во время работы с такой ножовкой время от времени полотно инструмента смачивают жидкой эмульсией, чтобы оно не перегревалось.
Поперечные пилы используют для поперечного распиливания, а также для плотничных работ. Зубья пилы имеют вид равнобедренных треугольников и косую заточку. Угол у вершины зуба обычно оставляют 42–45°. Полотна пилы могут быть толщиной 1,1 и 1,4 мм.
Лучковые пилы состоят из лучка, изготовленного из древесины твердых пород деревьев, полотна длиной 785–800 мм, тетивы, сделанной из крученого пенькового или льняного шнура толщиной 3–4 мм. Они могут быть поперечными и продольными. У поперечных лучковых пил полотно имеет ширину 22–25 мм, расстояние между зубьями 4,5–5 мм, а угол заострения 70–79°. У продольных лучковых пил полотно делают шириной 50–55 мм, толщиной от 0,5 до 0,7 мм с расстоянием между зубьями 5 мм, угол заострения 45–50°.
Выкружные пилы применяют для распиливания материала по кривым линиям. Длина полотна этих пил 500 мм, ширина 5–15 мм, расстояние между зубьями 5 мм и угол заострения 55–60°. Зубья пилы имеют прямую заточку.
Чтобы уменьшить силу трения, из-за которой полотно инструмента может застрять в пропиле, зубья разводят. Для этого полотно помещают в тиски и зажимают. Затем берут универсальную разводку и отгибают вершины зубьев от основания не менее чем на 2/3 их высоты. Все четные зубья отклоняют в одну, а нечетные в другую сторону.
Если предстоит работа с древесиной твердых пород деревьев, то зубья разводят на 0,25–0,5 мм. Если же нужно будет распилить материалы из мягких пород деревьев, то зубья пилы разводят на 1 мм. Чтобы проверить, правильно ли выполнен развод, используют шаблон. Для того чтобы тетива долго не растягивалась, после окончания работ с пилой закрутку слегка отпускают.
Топор
Топоры бывают с прямыми и округлыми лезвиями. Топор с прямым лезвием необходим для рубки древесных материалов, топор с округлым лезвием – для отделки.
Такую деталь топора, как топорище, изготавливают из древесины твердых пород, например ясеня, клена, граба, вяза, березы.
Древесину выбирают без трещин, сучков, гнили и плесени. Топорище хорошо отшлифовывают сначала крупнозернистой, а затем мелкозернистой наждачной бумагой и покрывают слоем олифы, смешанной с 11–12 %-ной охрой. После этого, чтобы продлить срок службы топорища, его покрывают бесцветным лаком.
Зубила
Для вырубания отверстий, перерубания проволоки и отдельных полос металла используют зубила различных видов. Например, слесарным зубилом овального сечения, изготовленным из специальной инструментальной стали, рубят сталь толщиной около 1 мм, зубилом Когана, имеющим достаточно широкую режущую часть, прорубают стальные листы толщиной до 1 мм.
Небольшие детали рубят по намеченным линиям, предварительно зажав в тиски, а детали больших размеров рубят также по намеченным линиям, но только на столе, покрытом листовой сталью толщиной 13–15 мм.
В процессе рубки в тисках обращают внимание на то, чтобы режущий край зубила шел на одном уровне с губками тисков. Деталь для этого зажимают так, чтобы риска совмещалась с краем вкладыша тисков. Детали из стали толщиной до 1,5 мм обрубают в 1 прием, а толщиной в 1,6 мм и более – в 2 приема.
Во время рубки следят за тем, чтобы режущий край инструмента двигался строго по намеченной линии. Инструмент держат левой рукой под небольшим углом к отрубаемой части. По зубилу ударяют молотком. Выполнив прорубы на одной стороне детали, деталь переворачивают на другую сторону и повторяют ту же операцию, а затем разламывают деталь руками.
В процессе рубки деталей следят за тем, чтобы мелкие кусочки, отлетев в сторону, не поранили тех, кто находится поблизости.
Зубила точат точно так же, как и ножницы.
Более 800 000 книг и аудиокниг! 📚
Получи 2 месяца Литрес Подписки в подарок и наслаждайся неограниченным чтением
ПОЛУЧИТЬ ПОДАРОКДанный текст является ознакомительным фрагментом.